 |
工作原理/working principle-----------------------------------------------------------◆◆
|
|
1、傳感器原理 |
|
傳感器實際上是一種液體流速測量儀表。它是應用法拉第感應定律的原理制成的流速測量儀表。圖1 是插入型流量計基本工作原理的示意圖。用長桿將小的電磁流量傳感器插入到被測量管道中規定位置,導電流體垂直流過傳感器工作磁場時(轉換器向傳感器提供勵磁電流時,在勵磁線圈構成的勵磁系統中產生工作磁場),相當導體在磁場中作切割磁力線運動。根據法拉第感應定律,在導體的兩端產生感應電動勢。感應電動勢由接觸流體的一對電極來檢測。電動勢的大小與磁感應強度B、兩極間距離L 和流體的平均流速呈正比。即 E=B·L·V(伏) |
|
式中:E——感應電動勢,V; B——磁場強度,T; L——兩電極間距離,m; |
|
V——流過傳感器的流速(亦即代表被測管道規定插入點的質點流速),m/s |
|
K——系數。 |
|
 |
|
|
2.電路工作原理 |
 |
|
|
|
|
|
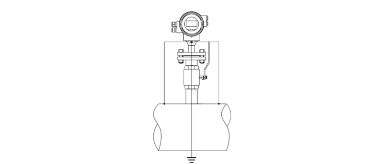
3、結構組成

1.電極 2.探頭殼體 3. 帶閥門安裝連接座/螺紋底座 4.連接法蘭/螺紋接頭 5.轉換器 6.接地螺釘
|
產品特點/Product features-----------------------------------------------------------◆◆
|
|
1.傳感器內無活動部件,結構簡單,剛性強,工作壽命長。 |
|
2.傳感器探頭大大提高產品穩定性。 |
|
3.插入式電磁結構可在低壓或帶壓情況下不停水方便的安裝、拆卸。因此非常適用于現有管道的流體測量和便于儀表的維護、修理。 |
|
4. 測量精度不受被測介質的溫度、壓力、密度、粘度、電導率(只要電導率大于20μs/cm)等物理參數變化的影響;傳感器幾乎無壓力損失,能量損耗極低。 |
|
5.較一般流量計的制造成本和安裝費用低。特別適于大中口徑管道流量測量。 |
|
6. 有法蘭式和螺紋式兩種安裝結構可選。 |
|
產品參數/Product parameters-------------------------------------------------------◆◆
|
1、主要技術參數
|
型號 |
|
|
|
公稱通經 |
DN150-DN800 |
DN200-DN1800 |
|
基本誤差 |
±2.0%F.S |
|
流速范圍 |
0.5m/s-10m/s |
|
環境溫度 |
-20-60℃ |
|
介質溫度 |
-20-80℃ |
|
連接方式 |
法蘭連接 DN40 PN1.6MPa |
螺紋連接 1½NPT |
|
工作壓力 |
0.25MPa-1.6MPa |
|
輸出信號 |
電流輸出:4-20mA 頻率輸出:0-5kHz |
|
消耗功率 |
≤15W |
|
供電電源 |
220V AC 50HZ、24V DC |
|
電極材質 |
316L |
|
通信接口 |
RS-485;HART |
|
安裝形式 |
一體式;分體式 |
|
電器接口 |
M20*1.5螺紋 |
2、測量范圍
|
口徑 (mm) |
測量范圍(m3/h) |
口徑 (mm) |
測量范圍(m3/h) |
|
DN150 |
31.79~ 635.85 |
DN700 |
692.37 ~13847.40 |
|
DN200 |
56.52 ~ 1130.4 |
DN800 |
904.32~ 18086.40 |
|
DN250 |
88.31 ~ 1766.25 |
DN900 |
1144.5~ 22890.60 |
|
DN300 |
127.17~ 2543.40 |
DN1000 |
1413.0~ 28260.00 |
|
DN350 |
173.09~ 3461.85 |
DN1200 |
2034.7~ 40694.40 |
|
DN400 |
226.08~ 4521.60 |
DN1400 |
2769.4~ 55389.60 |
|
DN450 |
286.31~ 5722.65 |
DN1600 |
3617.2~ 72345.60 |
|
DN500 |
353.25~ 7065.00 |
DN1800 |
4578.1~ 91562.40 |
|
DN600 |
508.68~ 10173.6 |
|
|
|
產品外形尺寸/Product dimensions-----------------------------------------------------◆◆
|
|

|
安裝和接線/Installation and wiring----------------------------------------------------◆◆
|
|
1.安裝要求 |
|
1.1 通用要求 |
|
a、為了安裝、維護、保養方便,在流量計周圍需保留足夠的空間 |
|
b、避免流量計安裝在溫度變化很大或受到設備高溫輻射的場所 |
|
c、流量計應安裝在室內,如安裝在室外,應避免陽光直射,必要時請安裝防曬裝置 |
|
d、避免流量計安裝在含有腐蝕性氣體的環境中 |
|
e、避免流量計安裝在有強振動源、強磁場的場所 |
|
1.2工藝管要求 |
|
a、 上、下游工藝管的內徑與流量計的內徑應滿足:0.98DN≤D≤1.05DN(DN:流量計內徑;D:工藝管內徑) |
|
b、工藝管與流量計需同心,同軸偏差不大于0.05DN
  
|
|
|
2.安裝條件 |
|
2.1直管段 |
|
使用直管段可防止介質因彎管、TT型三通、截止閥、變徑管的影響而產生渦流或失真
 
|
3.接地 |
|
流量計必須按規定接地,以保證流量計可靠的工作、防止操作人員收到電擊。

|
|
|
常見故障及解決辦法/Common failures and solutions----------------------------------◆◆
|
|
1. 維護 |
|
傳感器一般不需要定期維護。但對于被測介質容易使電極和測量頭(測量管)表面或內壁粘附結垢的情形,必須進行定期清洗。清洗周期視粘附結垢程度而定。在清洗電極和測量頭(測量管)時,一定要注意勿使絕緣材料和電極損傷。 |
2 .常見故障排除參照表
|
故障現象 |
產生原因 |
排除方法 |
|
轉換器流量為負值 |
1.傳感器方向指示插與流體流向相反 |
1.旋轉傳感器方向180° |
|
2.調整轉換器中 “流量方向選項” |
|
轉換器輸出超量程 |
1.流量計量程值小于實際測量值 |
1.擴大流量計量程 |
|
2.流體未充滿管道 |
2.關小流量調節閥門 |
|
3.勵磁線圈開路 |
3.重新接線 |
|
輸出信號波動過大 |
1.傳感器電極處有氣體存在,造成電極與介質接觸不良 |
1.排除管道內氣體 |
|
2.電極上有沉積物 |
2. 清洗電極 |
|
輸出信號逐漸 漂向零值 |
1.傳感器進水 |
1.更換傳感器 |
|
2.電極被覆蓋 |
2. 清洗電極 |
左右電壓則需要定無源電流輸出否則需要定有源電流輸出; |
|
運輸與貯存/Transport and storage---------------------------------------------------◆◆
|
|
為防止儀表在運轉時受到損壞,在到達安裝現場以前,請保持制造廠發運時的包裝狀態。貯存時,貯存地點應在具備下列條件的室內: |
|
a) 防雨、防潮; |
|
b) 機械振動小,并避免沖擊; |
|
c) 溫度范圍 -20~+60℃; |
|
d) 濕度不大于80%; |
|
|
|