PRODUCTS
CONTACT US
肯爾自動化技術(上海)有限公司
服務熱線:400 928 1315
郵箱:shkener@163.com
傳真:021-56789339
地址:上海市嘉定區招賢路1181號6幢
網址:http://www.twdvr.org
點擊次數:
全國服務熱線: 400 928 1315
產品描述
|
工作原理/working principle-----------------------------------------------------------◆◆ 笛形均速管與孔板的差壓式流量傳感器一樣都遵循伯努利方程。它是通過管道的平均流速及管道的有效截面積的乘積來確定流量的。 一般管道中的流速分布是不均勻的。如果是充分發展的流體,其速度分布為指數規律。為了準確計量,將整個圓截面分成四個單元 面積相等的兩個半圓及兩個半環。阿牛巴流量計的檢測桿是由一根中空的金屬管組成,布置在垂直于流向的工藝管道中,迎流面鉆兩對總壓孔,分別處于各單元面積的中央,它們分別反映了各單元面積的流速大小。由于各總壓孔是相通的,傳至檢測桿中的各點總壓值平均后,由總壓引出管經高壓接頭,送到變送器的正壓室。 當笛型勻速管正確安裝在有足夠長度直管段的工藝管道上時,流量截面上應沒有旋渦,整個截面的靜壓可認為是常數。在檢測桿的背面中間設有檢測孔,代表了整個截面的靜壓。經靜壓引出管由低壓接頭引至變送器的負壓室,正、負壓室測得的差壓的平方與流量截面的平均流速成正比,從而獲得差壓與流量成正比的關系。 |
||||||||||||||||||||||||||||||||||||||||||||||||||
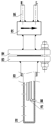
結構組成/Structural components-----------------------------------------------------◆◆ |
||||||||||||||||||||||||||||||||||||||||||||||||||
|
||||||||||||||||||||||||||||||||||||||||||||||||||
|
||||||||||||||||||||||||||||||||||||||||||||||||||
技術參數/Technical parameters-------------------------------------------------------◆◆ |
||||||||||||||||||||||||||||||||||||||||||||||||||
|
||||||||||||||||||||||||||||||||||||||||||||||||||
產品外形尺寸/Product dimensions-----------------------------------------------------◆◆ |
||||||||||||||||||||||||||||||||||||||||||||||||||
|
||||||||||||||||||||||||||||||||||||||||||||||||||
|
|
||||||||||||||||||||||||||||||||||||||||||||||||||
|
||||||||||||||||||||||||||||||||||||||||||||||||||
安裝和接線/Installation and wiring-----------------------------------------------------◆◆ |
||||||||||||||||||||||||||||||||||||||||||||||||||
注:(1)表中“D”為管道內徑。(2)在管道段不足的情況下,上游應占管道全長的70%,下游占30%,此時仍可給出穩定的示值,但準確度下降。 |
||||||||||||||||||||||||||||||||||||||||||||||||||
|
|
||||||||||||||||||||||||||||||||||||||||||||||||||
常見故障及解決辦法/Common failures and solutions----------------------------------◆◆ |
||||||||||||||||||||||||||||||||||||||||||||||||||
|
||||||||||||||||||||||||||||||||||||||||||||||||||



本文標簽:
最新產品
最新資訊
- 磁翻柱液位計介紹 2022-05-24
- 雷達物位計中標煤化工項目 2022-05-24
- 德爾塔巴流量計中標合成氨項目 2022-05-24
- 德爾塔巴流量計應用案例 2022-05-17
- 德爾塔巴流量計飽和蒸汽流量測量 2022-05-17
- 雷達物位計與射頻導納物位計的差別 2022-05-12
- 雷達液位計在使用過程常見的障 2022-05-12
- 威迪巴流量計在氣體測量中應用技術解決方案 2022-05-12









服務熱線:400 928 1315
地址:上海市嘉定區招賢路1181號6幢
客服